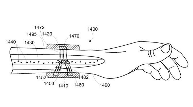
Google kanserle savaşacak bir giyilebilir teknoloji üzerinde çalışıyor. Görünüş ve kullanım mantığı olarak aynı akıllı saatler ve akıllı bilekliklere benzeyen giyilebilir teknolojinin çalışma mantığı ise bir hayli farklı.

“Nanoparticle phoresis” denilen bir işlemle çalışan giyilebilir teknoloji böylece elektrik akımı tesiriyle iyonların dokulara girmesini sağlıyor. Bu cihaz sayesinde kan dolaşımındaki belli hücreler hedef alınabiliyor ve kanser gibi hastalıklarla savaşabileceği söyleniyor. Tabii ki bu cihaz sadece kanser tedavisinde değil diğer hastalıklar için de kullanılabilecek.